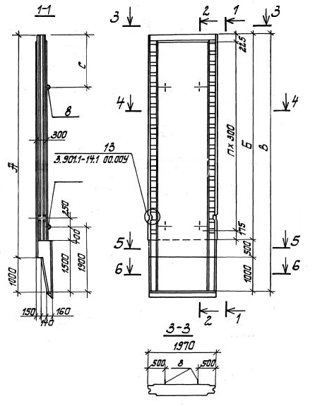
2ПС 114.3-6ш

Чертеж изделия:
Чертеж 2ПС 114.3-6ш
Характеристики изделия:
ПараметрЗначение
Длина1970 мм
Ширина300 мм
Высота12400 мм
Масса17350 кг
Нормативный документСерия 3.901.1-14

2ПС 114.3-6ш   Панель стеновая по Серии 3.901.1-14.

Маркировка

2 - опускной способ производства работ;

ПС - панель стеновая;

114 - длина стеновой панели в дм;

3 - толщина стеновой панели в дм;

6 - тип армирования;

ш - вариант со шпоночным стыком.